導軌是機床的基本結構要素之一,包括作為導向的固定元件和移動元件,這個移動元件一般稱為“滑塊”,圖1 為某型號滑塊實物照片。目前,滑塊毛坯通常為鑄造、鍛造,或者利用熱軋或冷拉的型材直接鋸切獲得。
文章源自好焊孫輝博客 http://m.surpass-tech.com.cn好焊孫輝-http://m.surpass-tech.com.cn/weldgyzb/autoyazhu202411268.html
圖1 滑塊實物文章源自好焊孫輝博客 http://m.surpass-tech.com.cn好焊孫輝-http://m.surpass-tech.com.cn/weldgyzb/autoyazhu202411268.html
滑塊鍛造成形相較于其他幾種成形方式難度較高,尤其是下端邊角部位的充滿性較差,但是由于鍛件的力學性能優于其他幾種成形方式,近年來采用鍛造生產滑塊毛坯的廠家越來越多。本文介紹的是一種滑塊鍛造成形方案設計以及實際生產過程中存在問題的改進。文章源自好焊孫輝博客 http://m.surpass-tech.com.cn好焊孫輝-http://m.surpass-tech.com.cn/weldgyzb/autoyazhu202411268.html
工藝設計
成形方案確定
該滑塊材料為GCr15,根據最終的產品要求,確定鍛件生產的工藝路線:下料→加熱→鍛造→球化退火→清理拋丸。文章源自好焊孫輝博客 http://m.surpass-tech.com.cn好焊孫輝-http://m.surpass-tech.com.cn/weldgyzb/autoyazhu202411268.html
結合滑塊的形狀特征和批量大小,設計在模鍛錘上生產,擬采用開式鍛造鐓擠復合的成形方式以保證鍛件的充滿性。另外由于該件在安裝使用后部分外露,對非加工面的外觀質量要求較高,為防止切邊等生產過程產生變形,在切邊后增加熱校正工序。最終確定鍛造過程生產工序:拍扁→成形→切邊→校正。文章源自好焊孫輝博客 http://m.surpass-tech.com.cn好焊孫輝-http://m.surpass-tech.com.cn/weldgyzb/autoyazhu202411268.html
毛坯圖及成形工步設計
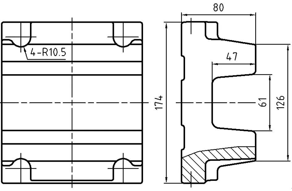
在產品圖紙基礎上根據需求留出加工余量,給出適當的拔模斜度等就可以設計出毛坯圖,該滑塊鍛件毛坯的主要尺寸如圖2 所示。文章源自好焊孫輝博客 http://m.surpass-tech.com.cn好焊孫輝-http://m.surpass-tech.com.cn/weldgyzb/autoyazhu202411268.html
文章源自好焊孫輝博客 http://m.surpass-tech.com.cn好焊孫輝-http://m.surpass-tech.com.cn/weldgyzb/autoyazhu202411268.html
圖2 滑塊鍛件圖文章源自好焊孫輝博客 http://m.surpass-tech.com.cn好焊孫輝-http://m.surpass-tech.com.cn/weldgyzb/autoyazhu202411268.html
根據鍛件尺寸可初步設計出模具型腔。根據經驗,普通模鍛錘生產中由于慣性上模的充滿性一般好于下模,因此一般都是將較難充滿的型腔設計在上模以保證良好的充滿性,但是由于此滑塊鍛件分模面一側形狀簡單且型腔很淺,分模面另一側結構復雜且型腔窄而深,這樣不利于鍛件自然脫模,因此將不好充滿的一側設置在下模,可以利用下頂出進行脫模。成形工步型腔如圖3 所示。文章源自好焊孫輝博客 http://m.surpass-tech.com.cn好焊孫輝-http://m.surpass-tech.com.cn/weldgyzb/autoyazhu202411268.html
文章源自好焊孫輝博客 http://m.surpass-tech.com.cn好焊孫輝-http://m.surpass-tech.com.cn/weldgyzb/autoyazhu202411268.html
圖3 成形工步型腔
Deform 三維模擬驗證
為確保鍛造方案可行,初步設計出成形工步后,使用Deform 三維有限元進行模擬,模擬過程如下。
⑴拍扁。
此工步主要是將圓棒料進行拍扁,利于后續坯料的放置,也有利于定位和后續成形,同時還可以去除坯料表面加熱產生的氧化皮。拍扁工步選用坯料規格為φ120mm×130mm,設定加熱溫度為1150℃,設備選擇3t 模鍛錘,摩擦系數設定為0.3,上、下模具采用平砧板。圖4 是坯料進行簡單拍扁的過程。
圖4 坯料拍扁過程
⑵成形。將拍扁后的坯料放入型腔中,調整好相對位置繼續模擬成形過程,拍扁坯料放入型腔后效果如圖5 所示。
圖5 拍扁坯料放入型腔
圖6 是在成形過程中選取的,從圖6 左圖可以看出,上端的坯料在鐓粗過程中有少部分被擠入下模型腔中,圖6 右圖是上端坯料鐓粗成形過程中接觸到了飛邊橋部,坯料向外流動的阻力加大,因此更容易向下流動被擠入下模型腔。
圖6 成形過程
圖7 是鍛件最終充滿型腔,鍛造成形過程結束。經過模擬驗證可以看出該方案鍛件充滿性良好,無折疊缺陷產生,下一步準備進行試生產。
圖7 鍛造成形完成
試生產及存在問題的改進
試生產情況
試生產時為保證下模能完全充滿成形時需要打擊6 ~8 錘,打擊能量為85%。圖8 為生產的滑塊鍛件實物,可以看出鍛件充滿狀況良好。生產35 件后下模頂桿不容易復位,在生產到145 件時,模具打塌,下模頂桿頭部鐓粗變形無法復位,下鑲塊模開裂,見圖9 所示,最終導致生產暫停。
圖8 試制鍛件實物
圖9 頂桿不復位頭部鐓粗、模具開裂
原因分析
試生產中存在的問題有兩點:下頂桿不易復位和模具異常開裂。
通過結合現場實際進行分析,頂桿不復位可能是由于以下原因造成:
⑴生產時采用石墨潤滑劑,配比濃度過高,噴涂后無法很好地附著在模具上,模具冷卻不夠,導致模具溫度升高硬度降低從而造成模具和頂桿變形;
⑵原設計頂桿與下鑲塊模配合段為60mm,一旦頂桿或者模具的頂桿孔有些許變形,就會導致頂桿無法良好復位。
造成模具開裂的可能原因有以下兩點:
⑴由于該滑塊較難充滿,成形過程需要的打擊能量過大;
⑵本次生產用的鑲塊模是用H13 圓棒料加工而成,下料直徑為400mm,而這種模具料直徑越大,坯料內部越容易產生成分偏析,使用時也更容易造成模具異常開裂。
針對上述情況,主要對生產工藝進行以下幾點優化:
⑴石墨與水配比由原來大約1:5 調整為1:20;
⑵將下模頂桿配合段由60mm 減短至15mm;
⑶使用經過多次改鍛的方塊模具料加工模具;
⑷在下模鑲塊不易充滿處增加多處φ1mm 排氣孔以改善鍛件充滿性。
工藝優化后再次生產時,模具冷卻充分,由于增加了排氣孔,鍛件更易充滿,每件鍛打錘數由6 ~8錘降低到5 ~6 錘。在本批生產六百余件后,下鑲塊模沒有開裂,頂桿復位順暢,鍛件充滿性良好,達到工藝改善的目標。
結論
本文通過對該滑塊鍛造工藝的設計及改進,得出以下結論:
⑴采用模鍛錘生產異形件時,需要注意模具潤滑和冷卻,保證模具冷卻;
⑵在型腔上合理設置排氣孔,可以有效改善鍛件充滿性;
⑶經過改鍛的模具坯料有利于減少成分偏析,提升模具壽命。
博主現就職于深圳市鴻栢科技實業有限公司, 從事焊接設備營銷推廣及銷售工作15年,擁有豐富的行業經驗及資源,致力于中國汽車焊接設備營銷推廣,歡迎廣大汽車制造焊接工藝與車身新材料連接技術研究的朋友們一起探討新技術、新設備。??
? ? ? ?螺柱焊機,點焊機,電極帽修磨機及各種焊接設備備件易損件,備件采購聯系:18682260315
輪轂軸承鍛件成形工藝分析與改進








